The Camden Hydraulic Accumulator Towerby Tim R. Smith
INTRODUCTION
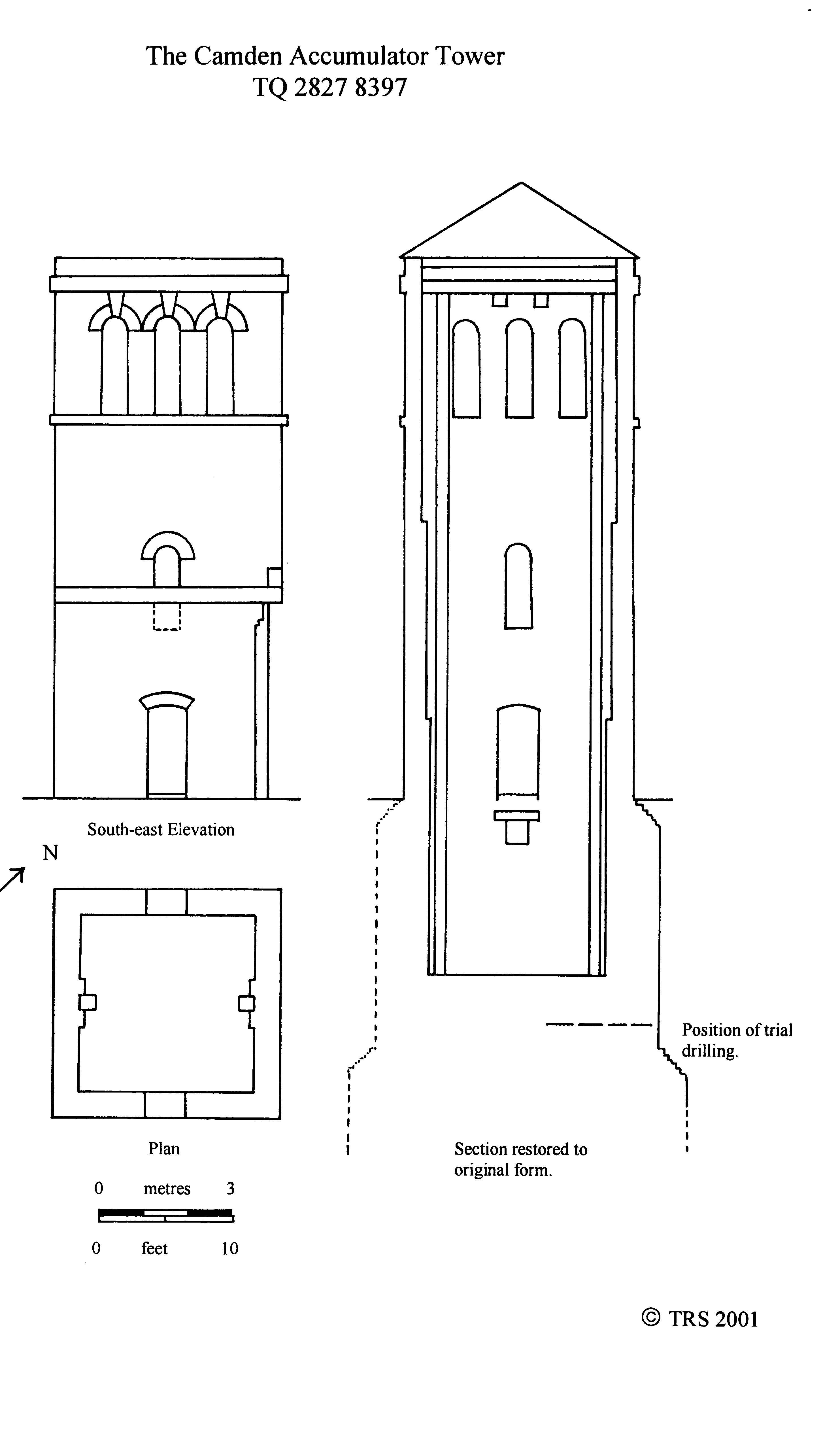
The accumulator tower, which stands on the east side of Gloucester Avenue, just north of the canal bridge (42 Gloucester Ave., NW1, TQ 2827839), was part of the London & North Western Railway's hydraulic system serving Camden Goods Depot. The tower, which lost its roof some years ago, is square in plan and some 40' (12m) tall. It stands back from the road at a slightly skewed angle. The tower has recently been converted into a staircase and lift shaft for an adjacent development. On 2nd February 2001 opportunity was taken to record the tower.
HISTORY OF HYDRAULIC POWER AT CAMDEN GOODS DEPOT
The London & Birmingham Railway (L&BR) established a goods depot at Camden in 1837, when the line partially opened. In 1846 the L&BR joined the Grand Junction Railway to form the London & North Western Railway (L&NWR). Under the "Grouping" of 1923 the L&NWR became part of the London Midland & Scottish Railway (LMS), and after Nationalisation in 1948, Camden goods depot was administered by the London Midland Region of British Railways. The goods depot closed around 1980. 1
By 1849 the original buildings had been swept away to be replaced by a new larger complex of goods sheds. Sir Francis Head listed the machinery he found in use there in the single shed occupied by Pickford's in the late 1840s. This included 24 steam-cranes, 21 wooden cranes (presumably hand-operated), 1 steam-doller (lift), 1 travelling-crane in the roof, 1 steam-capstan for hauling trucks, 4 steam hay-cutters and 1 steam hay-cleaner.
His statement that "The above machines are worked simultaneously by an engine of 16 horse-power..." implies the use of line-shafting, belts and pulleys. 2
Joseph Glynn, writing in 1853, noted that the L&NWR were about to install hydraulic cranes at their Camden goods depot. In the same year the company had introduced hydraulic cranes at Haydon Square goods depot near Aldgate. 3 Aubrey Wilson quotes an un-named source of 1855, which states that shunting, at Camden, was done by horses. 4 An undated volume, probably from the 1860s period, lists delivery of machinery to Camden from the Elswick Works, Newcastle of Sir W.G. Armstrong & Co. Armstrong had demonstrated his hydraulic crane in 1846 and had developed the first hydraulic systems, using the weight-loaded accumulator, in 1851. Machinery delivered to Camden included two force pumps and a 20" accumulator. Other machinery included three 25-cwt cranes, a 5-ton crane, a 3-ton crane and a 2-ton crane. There were eight capstans and eight hydraulic engines to drive them. 5 Whether or not this was the first hydraulic machinery at Camden, or additions to an already existing system is not known. A drawing of 1st August 1865 shows two capstans both driven from the same hydraulic engine. The drawing is labelled "Camden Stn LNWR" with the same works numbers for the hydraulic engines as in the previous source. 6
Figure 1. Elevation, plan and section
Parish maps of 1849, 1860 and 1868 do not show the tower neither does Stanford's atlas of 1862, nor Bacon's atlas of 1888. 7 But all these maps are of small scale and should not be expected to be reliable for buildings of this size.
Photo 1. The south-east facade of the accumulator tower in 1997 before demolition of the adjacent building. Note the rsj inserted to support the upper part of the wall when the north-east side was cut back to allow trains to pass on the adjacent railway track.
On the 1870 OS 60" plan the accumulator tower is shown as a free-standing tower with a railway siding running right up to the door in the north-west side. 8 Another door is shown on the south-east side of the tower. There was a turntable to the north and an enclosure to the north-east contains a rectangular building with a smaller building adjoining it. In 1870 the tower clearly housed a remote accumulator but why did the siding come up to its door? The same plan shows a "Pumping House" on the south-west side of the engine shed, between a "Fitting Shop" and an "Engine Coaling Shed". In the east corner of the Pumping House a square area, about the size of the accumulator tower, is marked. This Pumping House might, therefore, have been the hydraulic pumping station for Camden, the marked square housing the station accumulator. A second remote accumulator is shown north of the canal just west of the Southampton Bridge, at the north end of Oval Road. It is identified as an accumulator tower on the Goad Fire Insurance Plan (FIP) of 1891. 9
Both the Goad FIP and the 1894 OS 60" plan show great changes in the area around the tower. 10 The gap between the tower and the rectangular building to the north-east has been filled by another rectangular building. On the Goad FIP the first of these buildings is identified as a single storey building, of two-storey height and used as an "engineers' oil store". The new building is not specifically identified but is shown as having a roof-lantern along the ridge.
On the other side of the tower, fronting Gloucester Avenue (then Gloucester Road), a much larger building, rectangular in plan, was the stables of Samuel Allsopp & Sons, the brewers of Burton-on-Trent, who were good customers of the L&NWR. North of the tower, at the opposite side of the stable yard, the L&NWR had built a new hydraulic pumping station. At the north-west end there was a brick chimney, 145' (44m) tall, next to a boiler house with four boilers. Next to that was an engine house with three 70-hp steam-pumping engines. At the south-east end of the range was the engineer's workshop. At the north-west end of the yard was another engine-and-boiler house, with one boiler and an 8-hp engine which perhaps ran a chaff-cutter and other machinery associated with the stables. Next to the engineers' workshop was the entrance slope to the horse tunnel, which still runs under the main-line to the former goods depot.
By 1913 the engineers' oil store and other buildings east of the tower had been swept away to accommodate widening of the main lines. The new line adjacent to the tower was so close that the lower section of the tower itself had to be cut back. Rolled steel beams were inserted to support the upper part of the tower.
Figure 2: Internal elevations, north-west (left) and south east (right).
The engineers' workshop and the engine house also had to be cut back to make way for the new line, the corners being removed and new walls built at an angle. 11
Hydraulic machinery connected to the Camden hydraulic system included the usual cranes and capstans. F S Williams described the workings of Camden goods depot and the use of hydraulic cranes and hydraulic capstans there. 12 In 1906 there were about twelve hydraulic cranes in Gilbey's warehouse, whilst in 1911 there were two hydraulic lifts in the "New Depot". 13 In 1922 the Wharves and Warehouses surveyor found: "All floors perforated by two brick enclosed hydraulic lift wells, four timber and glass enclosed hoist shafts exterior to brick walls." 14 Goods trucks were moved in and out of the goods depot's buildings only by hydraulic capstan. 15 On the wall of the warehouse on the east side of the main line, now demolished, there were two wall cranes serving the adjacent siding and the basement, to which access was gained through fenced semi-circular openings.
At the Camden engine shed there was a hydraulic wagon tippler associated with a Fraser & Chalmers coaling tower installed in 1914. The coaling plant was similar in concept to one designed by the L&NWR's chief mechanical engineer, C J Bowen Cooke, and installed at Crewe in 1912-13. The tippler had a vertical ram which raised one end of a wagon allowing coal to be teemed out of the opposite end door onto a conveyor which carried the coal up to a shoot positioned above the locomotive's tender. Because of shortage of space, the high-level hoppers that had been provided at Crewe were omitted at Camden. 16 Photographs show the locomotive turntable at Euston Station with a brick tower behind it. It is similar in design to other L&NWR accumulator towers so it too is probably an accumulator tower. It is possible that Euston Station was served from the Camden hydraulic network. 17
Photo 2: The tower from the west during building works in early 2001. Note the excavation at the side of the tower which revealed the extent of the foundations.
In 1923 the steam engines were replaced by electrically-driven turbine pumps by Mather & Platt. The company introduced their turbine pumps for mine pumping and later brought out a version suitable for use in hydraulic pumping stations. The LMS used them at several locations including Broad Street, Poplar Docks and Garston Docks. The three sets at Camden were each capable of pumping 300 gallons per minute against a head of 750 psi (about 52 bar). Electrically- driven turbine pumps were able to react quickly to changes in demand and did not need an accumulator. Nevertheless if accumulators were already connected to the system they were often kept. The Mather & Platt pumps were still in situ in 1969. 18
The 1948 revision of the Goad Fire Insurance Plan shows that the electric pumps were housed in the old engine room. Transformers for the 6,600v supply to the pumps were housed in the old engineers' workshop. The boiler house became a fitters' shop and stores. The former stables had become an engineers' stores. The accumulator tower had acquired a small, triangular shaped extension towards the canal. 19
The red brick pumping station buildings were typical, undistinguished, industrial buildings. Along with the stable block they were demolished in Spring 2000, leaving the tower isolated. Gloucester Avenue is in a conservation area and consent for demolition of the accumulator tower was refused.
THE ACCUMULATOR TOWER
The accumulator tower is built in yellow/grey stock brick and had a pyramidal roof until 1995. The tower is approximately 17'3" (5.25m) square in plan, except where it has been cut back at ground level. There are doors in the north-west and south-east elevations. The upper sections of each elevation, above a stone string course, have three semi-circular arched 'openings', some with wooden louvres others blind. This is a feature common to all surviving L&NWR accumulator towers except the one at Edge Hill, Liverpool. At the upper window openings, where the louvre timbers are missing, the tower's walls are only one-and-a-half bricks thick. The guide timbers can be seen to be supported against internal piers, on the north-east and south-west sides. The piers are each 3' 8" (1.12m) wide, and support two buffer timbers on either side of the guide timbers. The guide timbers are set into the piers by 4.5" (0.12m). 20
Photo 3: The pressure pipe entering the tower on the south east side, just below ground level
Internally, the walls are stepped twice, reducing in thickness from two-and-a-half bricks at ground level. 21 It was, therefore, necessary to use piers to support the guide timbers. This arrangement is unusual, and possibly unique, in surviving accumulator towers.
The accumulator itself has been removed. It would have consisted of a vertical cylinder, standing in the centre of the tower, with a ram that supported a crosshead. The crosshead ran between guides on two sides of the tower. From the crosshead was hung a weight-case, which provided an annular space around the cylinder that could be filled with anything cheap and heavy, in London usually Thames ballast. The load on the accumulator depended on the diameter of the ram and the pressure for which the hydraulic network was designed, but could be 80 tons or more. In operation, the accumulator rose and fell in the tower according to the demand for power.
The tower extends below ground level for about 13' (4m). In January 2001, rubble filling this pit was removed enabling a proper examination of the tower to be made. The rubble consisted of general rubbish and the charred remains of the roof. At the bottom of the pit there was a floor of concrete. In the centre there was a water-filled depression with gravel in the bottom. Around it was a ring of twelve 1" (0.0254m) holding-down bolts, with a pitch circle of 32" (0.81m). Around the edge of the concrete, inside the guides, was a circular flat plate, about 12" wide, probably made of iron. Outside this circle, in the corners of the tower, the concrete floor was raised by about 1" to 2" 0.025m to 0.05m), sloping up into the corners. In the south corner there was a ceramic pipe, of 9" (0.23m) internal diameter with 3/4" (0.02m) thick walls. The pipe was broken off about 6" (0.15m) above floor level.
Photo 4: The guide, guide timber and, at the top, buffer timbers on the north-east, railway, side of the tower. Note the new brick work related to the cutting back of this side to allow trains to run closer to the tower. Note also the ladders on the right and top left.
The hydraulic main entered the building through a hole under the doorway in the south-east wall, and ran down into a small, water-filled pit. The pipe was 7" (0.18m) external diameter and comprised a standard 9' (2.74m) length attached to a bend at the top and to a further, unseen length of pipe below. Joints were of the usual oval flange type (non-Ellington). The internal diameter of this main was probably 5" (0.12m).
Figure 4. Plan and section of scrap section at top of tower, showing buffer timbers.
Just how the hydraulic main was connected to the accumulator cylinder is a matter of conjecture. Accumulator cylinders had dished lower ends stepped into cast-iron base-plates. The hydraulic pipe was usually connected at the side, through both cylinder and base-plate. This meant that the holes in cylinder and base-plate had to be aligned during installation. The Hydraulic Engineering Co of Chester, under E.B. Ellington, connected the pipe above the base-plate to avoid alignment problems. At Gloucester Avenue the base-plate appears to have been bolted to the floor of the pit by the twelve bolts noted above. As the hydraulic main goes below floor level it seems possible that it turned towards the centre of the pit and came up through the bottom of the accumulator cylinder. This again would solve the problem of alignment of holes in the cylinder and its base-plate but would also appear to introduce a weakness in the dished end of the cylinder. An alternative possibility is the twelve bolts held a collar in place around the cylinder, which would then pass through the concrete to a lower level, the pipe connection being, as was usual, through the side of the cylinder. In support of this is the circular metal plate around the floor of the pit, which could have served to support the weight-case in its lower position.
On the inner north-west wall, to the right of and some 2' (0.6m) above the doorway, a 9" (0.23m) square timber projects from the brickwork. It supports a lever, which was associated with the accumulator relief valve. A chain would have been attached to the end of the lever and to the valve mechanism, passing through an eye on the weight-case. A stop attached to the chain was too large to pass through the eye. In the event of the accumulator rising too high, the chain was thus lifted, opening the relief valve and spilling water. On the floor under the doorway there was a small pit with a channel leading to a pipe, which passed through the wall. The relief valve was, presumably, located in the pit. There is, however, a snag. Relief valves were usually placed on the connection to the hydraulic main, which, at Gloucester Avenue, is on the opposite side of the tower. There was no sign of a hydraulic main near the valve pit.
The accumulator guides were attached to stout timbers set into piers on the north-east and south-west walls. The guide timbers were secured to the tower walls by means of iron ties and external tie-plates, two for each guide, one near ground level the other higher up the tower wall. The guides were of the usual type, using rolled angle-section and flat plates, bolted to the timbers every 12" (0.3m). The guide timber on the north-east side was badly charred. That on the south-west side was rotten. On the north-east side the lower part of the guide timber was supported by iron sections. On the southwest side additional timbers were used to strengthen the bottom section. At the top of the tower, on either side of the guides, buffer timbers spanned the tower, supported on the brick guide piers. There did not appear to have been a lifting beam, but it could have been lost in the fire, which led to the collapse of the roof.
On the north-west wall there were remains of a wooden ladder, to the right of the doorway. On the other side of the doorway an iron ladder ran to the top of the tower, but its lower end was missing. A concrete footing for it remained on the pit floor. On the south-east wall, to the left of the doorway, there were remains of another iron ladder which went up as far as the second step in the brickwork. Again the lower section was missing, but stud ends could be seen in the floor.
A prominent feature on the north-east wall of the tower was the brickwork of the rebuilt section of wall at ground level. Of engineering brick this wall was supported on a concrete beam set at an angle to the wall above and below. In the north and west corners there were the remains of triangular shelves, or platforms, their purpose unknown. A 2" (0.05m) diameter pipe passed through the north-west wall near the wooden ladder, to the right of and just below the door. Excavation by the contractor of the area to the southwest of the tower revealed that the wall went down at least 8' (2.5m) below the level of the pit floor. Just below ground level the walls corbelled out by about 2' (0.6m), and there was a similar corbelling out some 10' (3m) below that. The contractors drilled into the tower wall about 1m below the floor level, and about 2m from the south corner. The concrete was still solid when drilling was stopped after 2.6m had been drilled.
INTERPRETATION
There seems little doubt that the tower was built to house a remote accumulator, probably at the end of the hydraulic network. The incoming hydraulic main is known to have made a right-angled turn from the direction of the railway line before entering the tower. The main almost certainly crossed the railway line here from the goods depot on the other side. Perhaps there was insufficient space for it to the east on the main line. Perhaps the adjacent turntable was hydraulically operated. When the new hydraulic pumping station was built it seems likely that the status of the accumulator changed and that it became the station accumulator. There was no other tower near the pumping station. There was said to be hydraulic pipework in the horse tunnel that crosses under the railway next to the accumulator tower. This could have connected to the accumulator under the pit floor, entering from the north-west.
From pit floor to the top of the tower is about 53' (16.2m). This compares with 42' (13m) from pit bottom to top of the remote tower at Poplar Docks. 22 The Poplar Docks tower of 1877 housed an accumulator of 17" (0.43m) diameter by 17' (5.2m) stroke. Clearly the Gloucester Avenue accumulator had a longer stroke, but could it have been 11' (3.4m) longer? The London Hydraulic Power Company's accumulators generally had strokes of 23' (7m). 23 According to Henry Robinson, writing in 1887, the largest accumulator built to that date was one of 23" (0.58m) diameter by 40' (12.2m) stroke, in Liverpool. 24 An accumulator with a 28' (8.5m) stroke is, therefore, not unlikely.
What we do not know is if the floor of the pit represents the bottom of the accumulator's cylinder, or whether the cylinder went through the concrete to a lower floor level. On the face of it the latter seems unlikely but there are two features that suggest it might have done. Firstly, the guides continue all the way to floor level. It was common to fit guides from the top of the cylinder to the top of the tower, thus saving the expense of the lower portion which would not be used. Secondly, the flat plate on the pit floor is puzzling. The bottom of the weight-case was usually some two or three feet (0.6m to 0.9m) above the floor of the tower and usually rested on timbers.
The Gloucester Avenue accumulator tower is probably the oldest of a handful of L&NWR accumulator towers to survive. Besides the one at Edge Hill, already mentioned, the others are at Garston Docks, Liverpool; Liverpool Road, Manchester; Huddersfield and Heaton Norris, Stockport. The Huddersfield tower still contains its accumulator. The Liverpool Road tower has been converted into a staircase tower for an adjacent office development. At Poplar Docks, London, two North London Railway accumulator towers survive. The design of the hydraulic system at Poplar was heavily influenced by L&NWR practice, but architecturally the towers differ from L&NWR towers.
Figure 5. Detail at the foot of the guide timbers, southwest side (left) north-east side (right)
In summary, the Camden hydraulic system may have been set up in the 1850s but was certainly in use by the second half of the 1860s. The date when the surviving accumulator tower was built is not known, but it was there by 1870 as a remote tower. The site of the first pumping station is not known but a likely site is adjacent to the engine shed. By the 1890s a new pumping station had been established near to the tower, which might then have been re-designated a station accumulator. When electric pumps replaced the steam pumps in 1923 the accumulator possibly became redundant but might have been kept. When it was removed from the tower is not known. The tower was altered by 1913 to leave clearance for a new railway line running close to it. The roof was lost in 1995 and the surrounding buildings were demolished in Spring 2000. Plans were submitted to restore the tower and convert it into a staircase and lift tower for an adjacent development during 2001. The work was completed, in 2002.
REFERENCES & NOTES
1. H.V. Borley, Chronology of London Railways, 1982, suggests a date of 1839 for the opening of the depot. Clinker's Register of closed passenger stations and goods depots 1830-1980 does not list Camden goods depot.
2. F.B. Head, Stokers and Pokers, 1849, reprinted 1968
3. J. Glynn, A Rudimentary Treatise on the Power of Water, 1853; Illustrated London News, 1853
4. A. Wilson, London's Industrial Heritage, 1967, page 132
5. Sir W.G. Armstrong & Co, Delivered Weights Book 1, in Vickers Armstrong records, 1627/2179, Tyne & Wear County Archives
6. Drawing in Vickers Armstrong records, 1027/1485, Tyne & Wear County Archives
7. Stanford's Library Map of London and its Suburbs, 1862, reprinted 1980; Bacon's Ordnance Atlas of London & Suburbs, 1888 - reprinted as the A to Z of Victorian London, 1987.
8. Ordnance Survey 60" to 1 mile plan, Sheet VII.II, 1870
9. Goad FIP, London XII Sheet 407, March 1891
10. Goad FIP, London XII Sheet 406, March 1891; Ordnance Survey 60" to 1 mile plan, Sheet VII.II, 1894
11. Ordnance Survey, 25" to 1 mile plan, Sheet V.1, 1913, Alan Godfrey reprint.
12. F.S. Williams, Our Iron Roads, 5th edition, 1884, page 418
13. Wharves & Warehouses Surveyors Reports, MS14943/20 20 December 1906; MS14944/1 3 August 1911, Guildhall Library
14. Wharves & Warehouses Surveyors Reports, MS 14944/17 4 May 1922, Guildhall Library
15. Wharves & Warehouses Surveyors Reports, MS 14944/17 16 November 1922, Guildhall Library.
16. G.F. Zimmer, The Mechanical Handling & Storage of Material, 3rd edition, 1922, page 680; Chris Hawkins & George Reeve, in LMS Engine Sheds, Volume 1, page 84, say the coal hoist was installed ca. 1919. They say it was replaced in 1936 by a modern coaling plant by Henry Lees & Co.
17. e.g. Chris Hawkins & George Reeve op cit., page 23.
18. Mather & Platt Ltd. catalogue, 1924; Thames Basin Archaeological Observers' Group, Industrial Monuments of Greater London, 1969
19. Goad FIP London XII Sheet 406, September 1948
20. Some measurements have been estimated by counting bricks and looking through the openings. Detail of the guide timbers is shown on "as existing" drawings submitted with planning application by Paskin, Kyriakides, Sands. Access to the tower enabled most estimated measurements to be confirmed.
21. Paskin, Kyriakides, Sands drawings.
22. T.R. Smith, Billingsgate Accumulator Tower, A Report on its Industrial Archaeology, unpublished, 1998.
23. T.R. Smith, Report on the Industrial Archaeology of the former Wapping Pumping Station of the London Hydraulic Power Company, GLIAS, 1999.
24. Henry Robinson, Hydraulic Power and Hydraulic Machinery, 1887, page 34.
ACKNOWLEDGEMENTS
I would like to thank Andrew Rowland and Colin Erridge of PKS and Chris Reeves of Charter for allowing me access to the tower and making me most welcome on site.
© GLIAS and authors, 2004